熊猫直播深陷“贱卖”传闻,地主家也没余粮了?
“地主家也没余粮了”,这句话用来形容熊猫直播非常恰当。即便富如“王校长”,也禁不住这么亏下去呀。

从上周开始,外界陆续有熊猫直播将以30亿元“卖身”的消息传出。据最新曝光的信息,熊猫直播即将完成被兼并的过程,目前正在走签字、审计、财务方面的流程。不过,熊猫卖身的金额或许并没有达到传闻中的30亿元,至于金主是谁目前各方仍秘而不宣。
30亿卖的“贱”吗
关于熊猫直播这次被并购,很多媒体都用“贱卖”来形容。那么,传闻中的30亿元出售价格“贱”吗?如果单从最高峰时50亿元人民币的估值来看,似乎是有点儿“贱”。
我们先把时间拉回到2014年,当时随着直播风口的兴起,游戏直播行业也迎来了全面的爆发。新平台不断涌现,曾经小众的游戏主播们也成了抢手货,主播们跳槽、平台之间挖角、怒怼互撕……各种花边新闻让一众吃瓜群众看得好不过瘾。
最热闹的话题,自然还是资本的疯狂涌入。
2015年,一直酷爱游戏的“国民老公”王思聪投身直播风口,创立了熊猫直播。由于王思聪的站台和前期大笔资金的投入,成立之初的熊猫直播花高价挖来了若风、PDD、刘杀鸡、风行云、二珂等当时最火爆的头部主播。另外,凭借着王校长的影响力,陈赫、林更新、贾玲、angelababy等明星也都在熊猫纷纷亮相,JJ林俊杰更是直接入驻熊猫成为明星主播。
当时,这些明星效应及头部主播的加盟为其带来了巨大的流量。其最顶峰时熊猫曾一举超越虎牙,成为整个游戏直播行业仅次于斗鱼的存在。

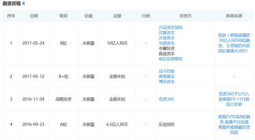
曾经火爆是真,但资本市场却在去年中就退烧了。根据公开数据显示,从2015年成立至今,熊猫直播累计获得了4轮融资,而最近一轮融资是发生在2017年5月4日——当时兴证资本领投了10亿人民币的B轮融资。B轮融资过后,熊猫并未公布其新的估值,但是早在2015年7月完成6.5亿元A轮融资时,其估值就高达24亿。所以根据外界推算,完成B轮融资后的熊猫直播估值将近50 亿元。
但之后这一年多来,为什么熊猫直播在资本市场就悄无声息了?很明显,直播包括游戏直播的窗口期过去了。
今年以来,斗鱼和虎牙相继得到腾讯的青睐。如今,虎牙已经成功赴美上市,市值超过70亿美元,斗鱼也即将登陆资本市场,随着窗口期封闭,排在第二阵营的玩家自然要尽快找到退路。更何况,随着资源更多地向头部平台集中,熊猫也难堪重负,当初那些花巨资挖来的主播自然无法挽留,二珂、JY、周淑怡等主播都已陆续跳槽离开。
如今,颓势尽显的熊猫直播传出“不到30亿卖身”的消息,自然令人唏嘘:卖贱了。
早卖早“超生”
今年以来,国内众多曾声称不着急上市的独角兽们都匆忙登陆资本市场,港交所甚至出现了一天8家企业同时IPO,导致两家敲一面铜锣的奇景。在这一大波IPO的背后,其实是资本市场的焦虑。直播市场同样如此,今年以来,虎牙、哔哩哔哩、映客都已经成功IPO,同时斗鱼、快手、花椒,也都传出即将IPO的消息。
这背后,隐藏的是资本市场套现离场的焦虑。对于目前的游戏直播行业而言,用户高速增长已成历史,营收模式过于单一是现实,新的业务增长点也尚未发现。

以已经上市的虎牙为例,根据虎牙发布的最新财报显示,今年Q1其直播营收为7.928亿元,占总营收比例高达94%,可见收入模式完全押宝在了直播上。而在熊猫直播的平台上,这种占比可能更高,很多用户会夸赞熊猫直播的界面相比虎牙和斗鱼更干净整洁,殊不知这种干净意味着平台的广告营收也乏善可陈。至少虎牙和斗鱼在营收多元化方面还能看到广告收入的增长,而熊猫直播只能望广告而兴叹。
另外,让资本望而却步的,还包括熊猫在自我造星能力、生态市场打造等方面的后继无力。
在这种情况下,作为熊猫直播的投资者,要继续抗还是尽快脱身?
对于王思聪来说,他更是一个生意人,而非热血创业青年,不可能像目前ofo的戴威那样始终高喊着要死扛。目前熊猫依然有着800多万的月活,这是其能够吸引买家的最大资本。就算最终的收购价格低于30亿元,也强过继续死扛面对的生机渺茫。
这样的例子在互联网圈屡见不鲜,当初的91手机助手和豌豆荚就是鲜活的例子。2013年,百度砸下19亿美元宣布收购91无线,创下了当时国内互联网最大的一笔并购案。当时跟91无线同为移动应用分发领域头部企业平台的豌豆荚,在看到91无线的身价后,自己就默认了同样的估值。
于是乎,面对阿里的高价收购要约,当时心高气傲的王俊煜摇头拒绝。随后,阿里通过投资微博,收购了UC完成了自己在移动互联网的布局。2015年初,腾讯和联想旗下的神奇工场又向豌豆荚伸出了橄榄枝,但还是不了了之。
多次拒绝收购的豌豆荚,“成功”的让自己错过了应用分发市场的最好时机,当发现“黄花菜要凉”却为时已晚。最终在2016年,豌豆荚仍没逃出马云的“魔掌”,只是价格不足2亿美元。
此外,当初拒绝微软470亿美元收购的雅虎,最终以45亿美元卖身;三次拒绝互联网巨头收购、同时在资本市场铩羽而归的当当网,最终仅以75亿元人民币卖身;市值最高曾达2200亿人民币的HTC手机业务,在遭遇营收连续滑坡却一直端着劲儿,直到去年9月以11亿美元贱卖给了谷歌。与这些惨痛的例子相比,熊猫直播选择这个时间点卖了,反而是一个明智选择。
算是一笔好买卖

根据数据显示,截止6月份,游戏直播领域虎牙和斗鱼依然牢牢占据了前两名的位置,二者的月独立设备数分别高达1983万和1718万;在这两家之后的触手和熊猫组成了第二阵营,二者的月独立设备数分别为893万以及835万人;在这之后,还有龙珠、战旗、全名、火猫等大量游戏直播平台在苦苦支撑,它们的月独立设备最高也不过450万,少的甚至不足百万。
比上不足比下有余,是熊猫目前最尴尬的状态,面对持续的亏损,同时又无法从资本市场获得新的助力,仅凭这800万的月活用户显然是无法支撑其走向IPO的。
市场遇冷无法获得新的融资,持续扩大的亏损以及过分单一的营收也不足以支撑其登陆资本市场。所以,某种意义上来看,如果熊猫直播现在真的能以30亿元的价格卖身,我们或许应该恭喜王思聪。
面对日益强大的头部企业,中小直播平台在两大头部企业不断发展壮大下,生存空间将会越来越小。虎牙和斗鱼相继上市之后,二者在无论在市场影响力还是资金方面都会在上进一步拉大和二三线直播平台的距离。到时候,面对大平台的挖角,这些没钱、没人气的的中小平台根本无力抵抗。在这个以粉丝经济为基础的直播市场,没有了那些吸引人的主播,平台又何谈竞争力?毕竟,直播是要人来做的。
特别是对于熊猫这样已经翻身无望的企业,与其被头部品牌“折磨致死”,还不如早卖早“超生”。
现在的直播行业就像当初的共享单车一样,风口正盛时各家平台疯狂涌现,五颜六色的单车甚至一度导致颜色都不够用了。但在风口散去之后,留在场上的选手屈指可数。当初那些共享单车企业中很多在创立之初就是奔着被巨头收购而去的,但是最终绝大多数都是无人问津,只能以破产收场。
或许,这宗收购案很快会水落石出,或许,这已经是熊猫直播最好的结局。如果继续拖下去,到时候别说30亿,是否有人愿意接盘都难说,毕竟这个市场中还有那么多苦苦挣扎的“玩家”在后面等待上岸。
2898站长资源平台网站资讯:http://www.2898.com/news/





